Jihongtan Industrial Park, Qingdao, China
sales@tatalift.com



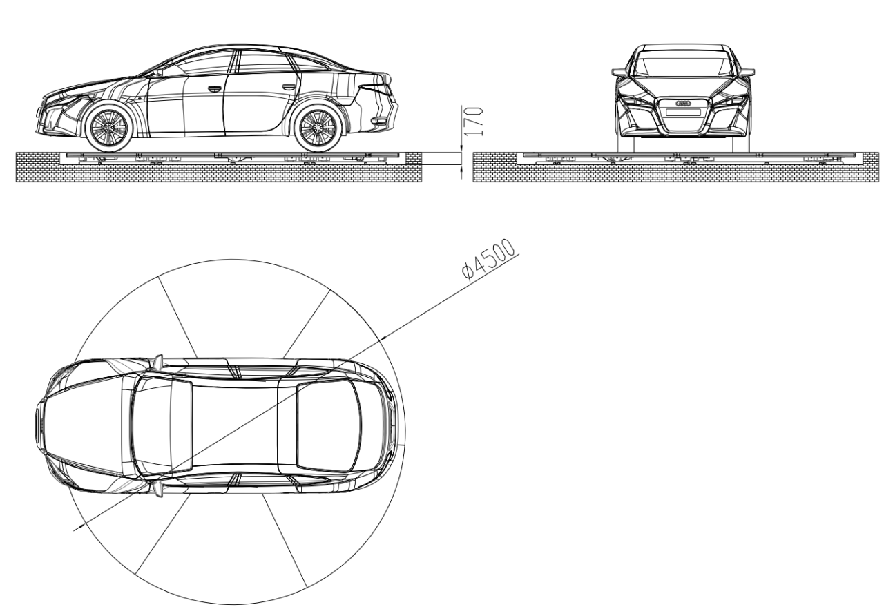
1. The platform with different specifications and sizes can be customized according to the requirements of customers, which greatly facilitates the selectivity of customers.
2. It can meet the rotation and turning direction of the vehicle in a narrow space.
3. It can also be used for vehicle display, car photography and other needs of car dealers.
4. Large bearing capacity, reasonable structure and simple maintenance.
5. The motor adopts frequency conversion speed regulation, with long service life.
6. The equipment can be remotely controlled to make the operation of the equipment more stable and accurate.